大阪市西淀川区中島2の賃貸
大阪市西淀川区中島2の貸し倉庫物件 詳細
この物件情報は【】に作成されたものです。













大阪市西淀川区中島2丁目、
中島工場団地内の工場・倉庫に募集が出ています!
工場・倉庫
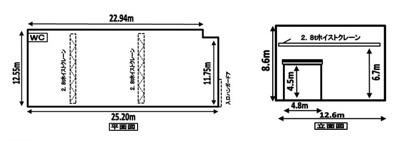
約95坪
天井高 約8.6m
大型車出入り可能!
2.8tホイストクレーン2基付き
業種はご相談下さい!!
| 備考 | − |
|---|
| 所在地 | 大阪市西淀川区 中島2 googleマップでみる |
|---|---|
| 交通 | 阪神なんば線 「出来島駅」駅 − − |
| 物件構造 | − | 物件階層 | 1階建 |
|---|---|---|---|
| 物件種別 | 工場 | 完成年月 | 1980年9月 |
| 用途地域 | 工業専用地域 | ||
| 物件設備 | 照明リフト電気動力電気 − | ||
| 物件番号 | US3-05378 |
|---|---|
| サイト名 | 貸倉庫NAVI |
06-6657-7090
所在地:大阪府大阪市住之江区南加賀屋2-8-25セジュール24 1階
アクセス:大阪メトロ住之江公園駅4番出口新なにわ筋を渡ってスグ
似た物件を探したい、最新の物件情報を知りたい、希望の物件条件で見つけて欲しい、などお気軽にお問い合わせ下さい。